DÂY NIÊM PHONG DT350 & DT420 | Sản phẩm được thiết kế để niêm phong cho nhiều vị trí và mục đích khác nhau
Đây là loại seal nhựa dây rút chuyên dùng để niêm phong túi, bao tải và các xe đẩy lồng lưới Loại niêm phong này phổ biến nhất trong các lĩnh vực như: Bưu điện, Chuyển phát nhanh, Bán lẻ và Vận chuyển tiền mặt.
Kích thước nhỏ gọn – Dễ dàng sử dụng
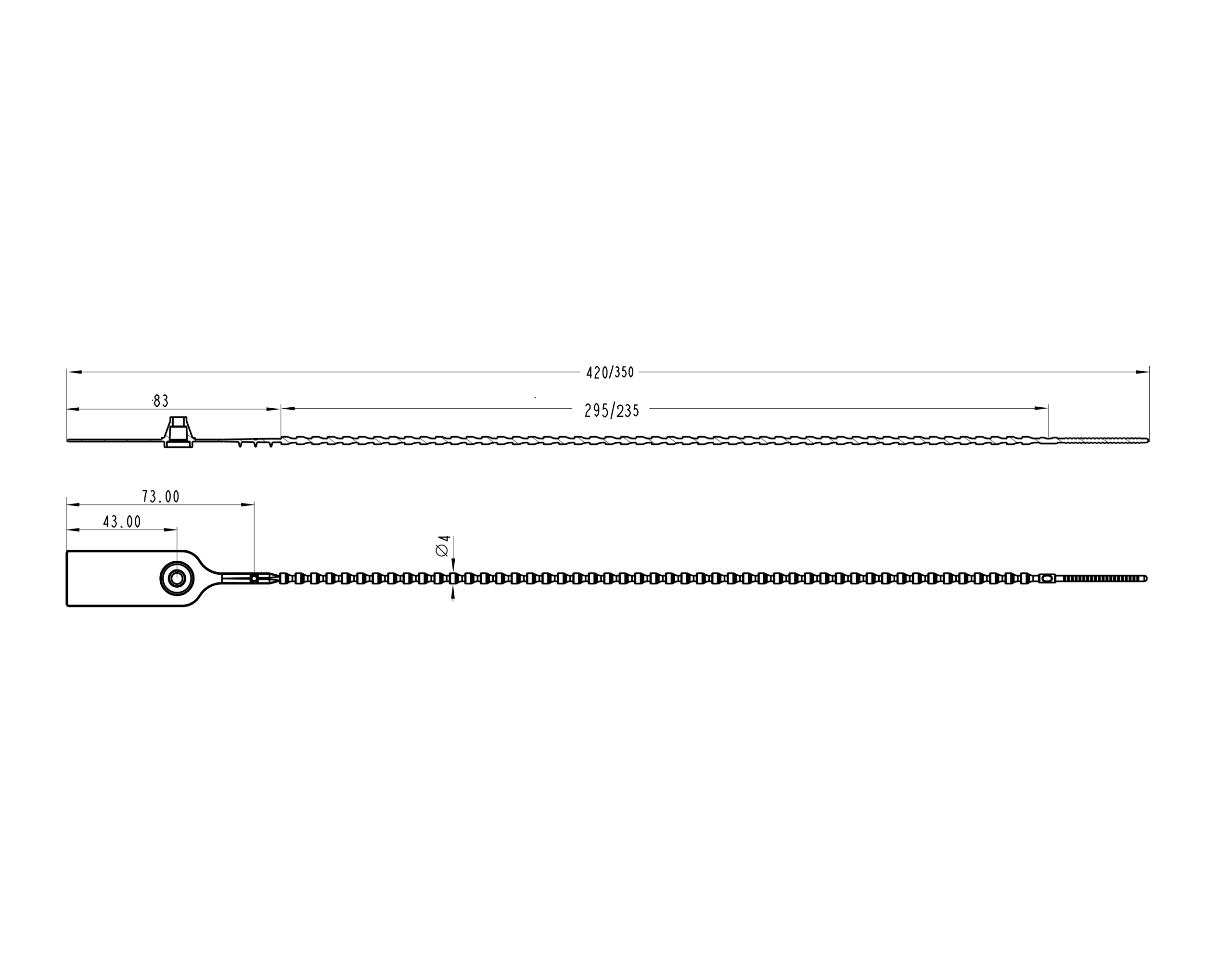
Sản phẩm có kích thước dài 350mm & 420mm, chiều dài cáp chiều dài sử dụng là 250mm & 300mm, đường kính dây là 3.6 – 4,0mm và lực kéo đứt là >20kg, mang lại sự linh hoạt khi sử dụng cho những vị trí có không gian lắp đặt hạn chế.
Chất liệu chất lượng cao – Đảm bảo độ bền và bảo mật
-
Sản phẩm được đúc bằng vật liệu polypropylene (PP) chịu va đập cao kết hợp với khóa làm từ nhựa POM.
-
Chống trộm tuyệt đối (Hệ thống khóa kép): Cái tên “Double locking” nói lên tất cả. Nó có cơ chế khóa kép với 2 lẫy lò xo riêng biệt bên trong. Một khi đã rút niêm phong, kẻ gian không thể nào cạy mở hay thao tác ngược lại mà không để lại dấu vết.
-
Siêu bền bỉ: Dây seal được thiết kế dạng đốt trúc dày dặn (đường kính khoảng 3.6mm – 4.0
mm), giúp hạn chế tối đa việc seal bị đứt vô tình trong quá trình vận chuyển hoặc có sự va đập. -
Bám cực chắc: Trên thân dây có các gai nhọn giúp seal bám chặt vào cổ bao tải hoặc túi,
không bị tuột.
English

















Đánh giá
Chưa có đánh giá nào.